Брус профилированный с чашками, обзор чашкорезов и виды соединения чашек.

Для более правильной и эстетичной укладки сруба из профилированного бруса в нем прорезают чашки. О плюсах и минусах профилированного бруса с чашками сегодня ходит много споров. Чашки нарезают по заранее подготовленным проектам дома на специальном оборудование – «чашкорезе». Эти запилы могут быть выполнены и вручную, но тогда у них не будет тепловых замков, которые легко делаются на станках. Тепловые замки это запилы, выполненные в форме «лабиринта». Они запирают плоскость запила от пагубного воздействия окружающей среды.
Что эта за система запила и как отличается ручная чашка от механической
Соединение стен у деревянного дома может быть как с остатком, так и без остатка. С остатком это соединение, которое носит название:
- Соединение в «чашку»
- Соединение в «обло»

Соединение без остатка для бруса это:
- Ласточкино гнездо.
Мы будем говорить о чашкообразном соединении. Такое соединение бруса носит еще название «теплый угол» или соединение «в обло». Это название оно получило из-за теплового замка, который создает такое соединение. Но сегодня ходит много споров, так ли хорошо такое соединение для профилированного бруса. Эти споры возникают по причине сильного усыхания этого материала, и в результате в чашке образуются большие зазоры. Сделать конопатку в дальнейшем в такой кладке будет достаточно сложно, и она теряет часть своих теплосберегающих характеристик.
Сегодня уже подмечены факты:
- Запил чашки механическим способом на производствах имеет ряд ограничений, которые возникают из-за точности станков по запилки.
- Запил ручного типа имеет ряд ограничений из-за неточности рабочих рук и ручного инструмента.
- Сегодня есть мастера, которые могут выполнить работу по нарезки чашек не хуже заводских в ручную.
- Чаще всего рабочие при сборе дома все равно переделывают или исправляют заводскую чашку, так как были допущены неточности.
- На заводах чашку выпиливают с зазором равным 1-1,5 мм, а ручной запил дает возможность сложить брус в натяг без зазоров.
Основное же отличие заводского запила чашки от ручного это ее конфигурация. Но не всегда такой запил выполнен качественно. А значит, и плюс может стать минусом.
Сегодня в заводских условиях применяют станки — чашкорезы. Эти станки могут быть как стационарного типа, так и мобильные. Форма чашки, изготавливаемая на этих станках, может быть различной и иметь разный угол наклона.
Принцип работы чашкорезного станка
При нарезке чашек на профилированном брусе используют электрический фрезер, например «Makita 3612С», AEG 2050, «Felisatti RF62/2200VE», «Интерскол ФМ-62/2200Э» или их аналог. На фрезе расположены сложносплавные прочные пластинки, которые имеют две острые кромки. Для того чтобы снизить нагрузку при работе на фрезе эти пластины установлены под наклоном от оси вращения фреза. Эти пластинки съемные и крепятся под воздействием винтов.
Этот фрез смонтирован в специальную раму, которая может двигаться и делать ширину или высоту замка по всему сечению бруса. Специальное подъемное устройство дает возможность регулировать глубину будущей чашки на профилированном брусе и сделать глубину пазового замка, задуманную по схеме.
Фрезерную машинку на раме крепят к тескам, на которые уже установлен брус в том месте, где предполагается размещение чашечного запила. Сама рама при этом, легко передвигается по основанию устройства, в поперечном направлении. Совместное движение фрезы вдоль и поперек дает возможность сделать паз нужной глубины и ширины.
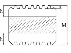
Как рассчитывать запил

Для каждой ширины бруса с разным сечением делать запил можно не в произвольном виде. В противном случае можно повредить профилированный брус или сделать его хрупким в местах соединения углов сруба.
Формула для расчета таких запилов сегодня звучит так:
H=(M+a):4, где H – толщина паза у профилированного бруса, М- полная высота бруса, а – размер шипа или паза на брусе.

Для примера рассчитаем запил чашки для бруса сечением 150х150 с замком равным 12 мм. Расчет будет выглядеть так: (150+12):4=40,25 мм.
Обработка запила чашки
Обрабатывать запил чашкореза тоже следует проводить по следующей технологии:
- Обрабатывается на глубину 15-25 мм границы будущей нарезки.
- Отмечается середина будущего паза и опускается фрезеровальная машинка на заранее вычисленную глубину и действия фрезой по обработке повторяют.

Типы и виды соединений, выполняемые на чашкарезном станке
Сегодня современные фрезы насадки позволяют выполнить различные соединения бруса в «теплый угол». Самые популярные и часто используемые это:
- Т-образное соединение, которое иначе еще называют «ласточкино гнездо». Для такого соединения используют фрезеровальные машинки, на конце которой прикрепляют специальную фрезу насадку. Станки, на которых можно сделать такой распил это: BLOX, KRUSI, EUROBLOX, Бруссовит и подобные им. Делают такой паз в два этапа, как показано на прилагаемом рисунке.
- Четырех сторонние соединения. Их часто используют при сборке блок-хауса. Изготавливают такие прорезы при помощи цилиндрической концевой фрезы. Верхняя и нижняя часть такого чашкового распила имеет прямое сечение, для укладки прямой стороны бруса. А боковые части пилят по специальным шаблонам, которые крепят на тесках основаниях вместе с брусом.

Ручной чашкорез
Сказать сегодня однозначно, что использование станков для запила чашек на профилированном брусе является эффективным с точностью нельзя. И многие строители предпочитают заказывать материл без чашечного запила и выполнить эту работу уже на месте. Для этого часто используют ручные чашкорезы.
Это устройство используют для фрезерования замков профилированного бруса, чтобы достигнуть полной перпендикулярности стен при сборке дома. Его хорошо использовать прямо на строительной площадке как для изготовления с нуля запилов, так и для корректировки уже готовых чашек при допущенном браке. Для использования на небольшом производстве тоже целесообразно будет приобрести такое устройство. У этого чашкареза мощная фреза, которая дает возможность выполнить работу так же качественно, как и на стационарном станке.
Цены на нарезку чаш у разных компаний разные и зависят от вида нарезаемой чаши. В среднем цены можно представить в виде таблицы:
| Название компании | Вид чашки | Вид профилированного бруса | Цена, рублей/ м кубический |
| ООО «Русский лес» | Чаша со смещением | Естественной влажности | 2800 |
| Сушеный брус | 3000 | ||
| ОАО «Эколес» | Чаша со смещением | Естественной влажности | 3200 |
| Сушеный брус | 3700 | ||
| ООО «Уралпром сервис» | Чаша со смещением | Естественной влажности | 3100 |
| Сушеный брус | 3500 | ||
| ООО «Лесстройсервис» | Чаша «ласточкино гнездо» | Естественной влажности | 6000 |
| Сушеный брус | 6500 | ||
| ООО «ЛесВиКо» | Чаша со смещением | Естественной влажности | 3200 |
| Сушеный брус | 3700 | ||
| ООО «ОкуловкаСтрой» | Чаша со смещением | Естественной влажности | 3150 |
| Сушеный брус | 3500 |
Если сравнивать брус с нарезкой чашек в производственных условиях и нарезку ручным инструментом, то можно сделать вывод:
- В заводских условиях при нарезке чашек человеческий фактор снижается, но не исчезает полностью и неотменяем его сто в процентном отношении.
- При одинаковых преимуществах ручного и заводского выпиливания все определяет умение рубщика, программиста, руководителя деревообрабатывающего производства. В любом случае если эти работы были выполнены неправильно и с несоблюдением технологий, то качества достигнуто не будет. И во многом зависит, кто будет стоять у «руля».
- Преимущество заводской чашки в основном в ее геометрической форме или конфигурации. А она может быть качественной и сделанной в «кустарных» производствах. А наличие запоров при создании чашки на станках чашкорезах, которые предотвратят попадание в дом холода, зависит только от точности и умения производителя.
