Как сделать монтаж металлического сайдинга

Каждый мечтает о том, чтобы его дом выглядел красиво и эстетично. Хорошо если у вас новый деревянный дом, который можно просто покрасить специальными мастиками, и он будет хорошо смотреться. А если дом старый? Тут поможет хорошая и качественная обналичка фасада здания. Сегодня на рынке представлено много материалов по обналичке. Ведущее место среди таких фасадных материалов занимает сайдинг. Сайдинг бывает разных видов, например, виниловый и металлический. Монтаж сайдинга металлического можно легко сделать самостоятельно. Так же к каждому материалу прилагается инструкция.
Что такое металлический сайдинг
Металлический сайдинг – это материал в форме металлических панелей, которые повторяют деревянную обшивку также ее называют Блок хаус. Эти панели делают из тончайшей оцинкованной стали. Лицевая сторона имеет разноцветное полимерное напыление. Сайдинг выдерживает очень высокие и низкие температуры. Именно поэтому он подходит для любого климата. Он не пожароопасен и его легко подобрать под цвет вашего кровельного материала. Деревянный дом, обшитый таким материалом, выглядит богато и имеет свой дизайн.
При правильном креплении сайдинга своими руками, его крепежи будут не видны снаружи. Располагать сайдинг можно как горизонтально, так и вертикально на бревно. Но при вертикальном расположении панелей на бревно не получиться нужной герметизации стыков.

Инструкция к данному материалу говорит, что толщина стандартной панели 0,5мм, длинна, может быть различной и имеет обычно до 6000мм. В ширину он 265 мм, высота профиля 15 мм. Весит такая панель 5,13 кг.
Комплектация таких панелей состоит из:
- Уголок наружный. (2 видов)
- Уголок внутренний. (2 видов)
- Нашлепник.
- Крепежная планка.
- Наличник.
- Верхний отлив.
- Водоотвод оконный.
- Начальная планка.
- Откосная планка.
При помощи этих комплектующих можно легко сделать монтаж сайдинговых панелей своими руками. Посчитать нужное вам количество комплектующих, достаточно легко. Нарисуйте схему вашего дома и посчитайте, сколько у вас внешних и внутренних углов.
Если вам не по силам это сделать самостоятельно, то покупая сайдинг в специализированном магазине, вам все посчитают специалисты.
Так же при покупки комплектующих, нужно приобрести и крепежный материал. Это:
- Дюбель – гвозди (8х100)
- Саморезы оцинкованные (4,2х16)
- Саморезы оцинкованные с уплотнительной прокладкой (4,8х35).
Монтаж металлического сайдинга
Для выполнения такой работы своими руками вам понадобятся:
- сайдинг металлический;
- комплектующие;
- крепежные элементы;
- шурупаверт или молоток;
- рулетка;
- уровень;
- ножницы по металлу или дисковая пила.

Применять углошлифовальную машинку нежелательно, так как она при обрезке повреждает покрытие, а это ведет к коррозии.
Технология монтажа сайдинга своими руками должна проходить по строго выстроенному порядку.
Обрешетка для монтаж сайдинга
Обрешетка это монтаж конструкции на которую уже будет крепиться сайдинг. Перед началом такой работы своими руками нужно померить здание и проверить ровность стен и углов. Если здание невысокое, то можно смонтировать дешевую подвесную конструкцию прямо на бревно.
Обрешетка для металлического сайдинга делается из стальных элементов профиля. Так как они не поддаются коррозии и пагубному воздействию окружающей среды. Конечно, можно использовать и деревянные профиль. Ширина должна быть не менее 50 мм, толщина зависит от толщины выбранного вами утеплителя. Перед креплением их на бревно нужно хорошо обработать их антисептиками по дереву.
Сайдинг прикрепленный на деревянную обрешетку теряет срок гарантии в магазине.
Рис №1
Пример такого крепления можно увидеть на рисунке №1 (26 – основная обрешетка из бруса, 23- утеплитель, 24 — ветрозащитная пленка, 19- не основная обрешетка, которая крепиться на основную, 29 – дюбель-гвозди, 1- деревянный профиль). Это один из самых дешевых видов обрешетки сегодня. Обрешетку следует крепить на бревно и стараться, чтобы крепления не попали в стыке бревен.
Защитную пленку крепят своими руками к обрешетки при помощи строительного стиплера. Шаг такой обрешотки должен быть не более 50 см. Чем выше этажность здания, тем жестче должна быть конструкция и значит шаг обрешетки меньше.

Рис №2
Сайдинговые панели нужно крепить к обрешетке на профиль саморезами, диаметр которых не менее 4,2 мм.
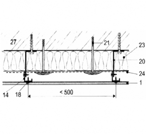
Делать обрешетку из металлических профилей выгоднее всего при помощи вентилируемых прогонов. Схему такой обрешетки можно увидеть на рисунке 2 (5-вентеляционные прогоны, 1- металлический профиль, 27- дюбель-гвозди, 18-оцинкованные шурупы). Вертикальные прогоны имеют размер 0,7 мм и крепятся прямо на бревно. Такое крепление достаточно прочное и имеет вентиляцию, что хорошо для деревянного здания. Единственный ее минус, что в такой конструкции не предусмотрен утеплитель. Шаг обрешетки такого типа даже на большой высоте может быть 50 см.

Рис №3
Вся конструкция профилей крепиться к стене при помощи оцинкованных винтов диаметром 4,8мм, длинной от 50 мм.
Эти два варианта предназначены для ровных стен, а что делать, если стены кривые и имеют много неровностей? Тут можно использовать вариант при помощи Г-планки и кронштейнов (рисунок 3).
Эта одна из самых прочных моделей обрешетки. И в такой конструкции предусмотрено место для утепления. Но и по цене это одна из самых дорогих профилей.
В такой системе обрешетки можно использовать кронштейны любой высоты, выбрать в расчете с толщиной утеплителя.
К деревянной стене дома такая конструкция крепиться двумя винтами диаметром 8мм и длинной 80 мм. Шаг такой обрешетки доложен равняться 50 см. Если использовать утеплитель, типа рубероида, то можно увеличить шаг между креплениями до 60 см.
Места для такой обрешетки нужно спланировать заранее и отметить на стене угольком или мелком. Делать такую конструкцию нужно начинать с углов, затем переходя на окна, проемы и двери. Только по окончанию по всей стене.
Утеплитель и гидроизоляционная пленка

Рис №4
Вся конструкция обналички сайдингом фасада предусматривает вентилируемый фасад. А значит, во многих конструкциях предусмотрен утеплитель. У дерева очень плохая теплопроводимость, а значит, тепло дом будет итак держать хорошо. Но если вы выбрали утеплитель для стен, то его нужно вмонтировать в систему.
Для выветривания влаги из такой конструкции между утеплителем и сайдингом закладывают гидроизоляционную пленку. Ее делают на основе стекловолокна.
Утеплитель вставляется между балками прямо на стены снизу вверх. Под утеплителем внешняя стена деревянного дома даже в минус 20 будет иметь положительную температуру.
Расстояние между утеплителем и сайдингом должно быть не менее 40-50мм. Более большое расстояние дает дополнительную нагрузку на крепежи, и конструкция потеряет свою жесткость. А если сделать зазор более маленьким, то вентиляция здания будет нарушена.
Для деревянного дома лучше выбирать утеплители, которые дышат и имеют натуральную текстуру. Таким материалом является минеральная вата. Утеплять новые деревянные дома с наружи не очень целесообразно, так как деревянные дома итак достаточно теплые. Но если это старый дом, то утеплять стены обязательно.
Минеральная вата тоже должна защищаться от внешних пагубных воздействий. Для этих целей укладывают специальную пленку. Такой материал легко защищает утеплитель от ветра и играет роль гидроизолятора.

Рис №5
При монтаже пленки нужно стараться не оставлять зазоров и не порвать ее. Если обрешетка деревянная, то проще всего такую пленку пристрелить строительным стиплером. К металлической же обрешетки пленку приклеивают. По всей площади пленка прикрепляется к стене вместе с утеплителем дюбелями с широкой шляпкой.
Пленка раскатывается, начиная снизу по горизонтали. Верхний слой укладывают внахлест с нижним на 15 см.
При обрешетке с Г- планками она крепиться под кронштейн. Для этого в пленке делают небольшой разрез.
Нельзя крепить гидроизолятор так чтобы она был натянута, но и провисания допускать нельзя. Применение утеплителя без такой пленки считается нецелесообразным.
Монтаж панелей и комплектующих

Рис №6
При начале закрепления нужно отступить от земли на 5 см. Это делается для создания проветривания. Крепиться вся конструкция снизу вверх.
Сначала монтируют водосливные планки. Их нужно вмонтировать над окнами, дверьми и всеми проемами, так же над цоколем. Это видно на рисунке 4. На межпланковых стыках часто устанавливают наличники, но это будет не правильно. Наличник будет собирать воду.
Крепятся все комплектующие обычными саморезами. Стартовую полосу крепят на углах здания. После этого устанавливают внешние и внутренний угол (рисунок5). Крепить внешние углы нужно аккуратно, так как они легко могут отвалиться.
Монтировать внутренние углы (рисунок 6), не имеет никаких ограничений на размер обрешетки. После установки углов монтируют Н-профили. Для такой установки нужно 2 обрешетки. Затем устанавливают карнизы и наличники.
Сами панели начинают крепить снизу от стартовой полосы. Первую панель закрепляют за стартовую полосу на расстояние 5 см от земли. После установки сложных частей, стартовую полосу крепить очень легко (рисунок 7). Для этого вам обязательно нужен уровень. Последнюю панель крепят с силой, вставляя в замок в натяг. Смотрят, чтобы замок вошел по всей длиннее и закрепился там максимально глубоко.
После всей установки отдельные детали, которые не имеют окраску, можно покрасить под цвет всей конструкции. Если земля у дома не ровная, то позже под всей системой делают отмостку.
Расценки на такой материал достаточно разнообразны. Цена на виниловый и металлический сайдинг не сильно отличается. В среднем расценки колеблются от 250 до 350 рублей. Все зависит от производителя и конечно качества материала. Самое дорогое при такой покупке будет комплектующая. Но и тут есть свои подводные камни. Углы и стартовые будут стоить немного дороже. Но и количество их при монтаже конечно на много меньше.

